topSkip to main content

Menu, Secondary

Menu Trigger

Menu

Clinicians have powerful new tools to diagnose MS earlier, thanks in part to UB research

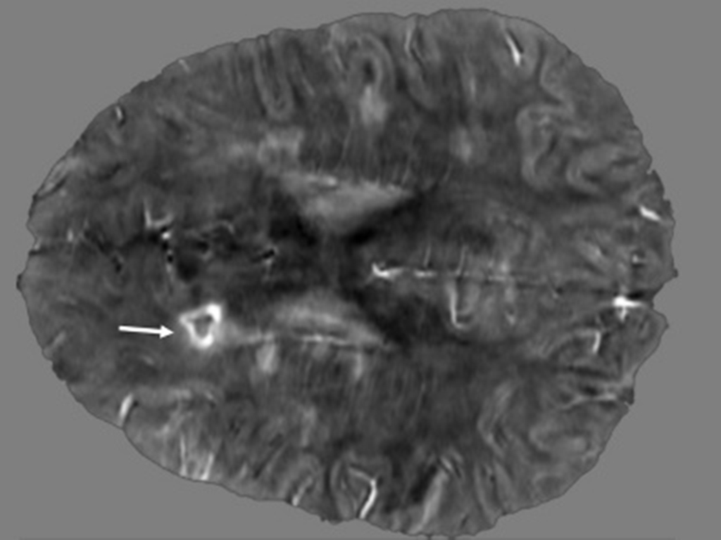
MRI brain image from an MS patient

This image of the brain of a 45-year-old female with secondary-progressive MS indicates with a white arrow the presence of a paramagnetic rim lesion. The image was obtained using Quantitative Susceptibility Mapping (QSM), an advanced MRI technique that can detect these lesions.

Paramagnetic rim lesions and other imaging biomarkers that show up on MRI allow patients to be diagnosed and treated much sooner
 

BUFFALO, N.Y. — The faster patients can be diagnosed with multiple sclerosis the sooner they can begin taking the powerful medications that can prevent further brain damage.

This fall, Lancet Neurology published new international consensus recommendations that will expedite diagnosis for patients around the world. The recommendations were developed by Magnetic Resonance Imaging in MS (MAGNIMS), the Consortium of Multiple Sclerosis Centers (CMSC), and the North American Imaging in MS Cooperative (NAIMS).


"Paramagnetic rim lesions are highly specific to MS and represent ongoing damage in the brain."

— Michael G. Dywer, PhD, Associate Professor of Neurology, Jacobs School of Medicine and Biological Sciences


One of the new criteria described is magnetic resonance imaging (MRI) markers in the brain called paramagnetic rim lesions, which have been extensively studied by University at Buffalo researchers.

Michael G. Dwyer, PhD, associate professor of neurology in the Jacobs School of Medicine and Biomedical Sciences at UB, a researcher with UB’s Buffalo Neuroimaging Analysis Center (BNAC) and a steering committee member of NAIMS, is a co-author on the paper on using MRI to diagnose MS.

“It is an honor and a privilege for UB to be represented in this international effort that will directly shape the future of MS diagnosis worldwide,” says Robert Zivadinov, MD, PhD, SUNY Distinguished Professor in the Jacobs School and director of BNAC. “These criteria put new tools into the arsenal of clinicians so that they will be able to more quickly and effectively diagnose MS.”

Dwyer explains that the goal of revising what has been known as the McDonald criteria for diagnosing MS was to help clinicians diagnose the disease as quickly as possible by adding in additional diagnostic methods without losing specificity for MS.

Early diagnosis is key
 

“One of the big challenges with MS in the last decade or so has been that we now have therapies that can effectively slow the disease, but none of them can wind the clock back,” Dwyer explains, “so the key is early diagnosis. We need to get patients on relevant therapies because neurodegeneration can start early in MS and is currently irreversible.”

The problem is that most clinical symptoms for MS are nonspecific and can include blurry vision, tingling, dizziness and fatigue, which may indicate any of a number of other disorders. For that reason, many clinicians have typically recommended watchful waiting to see if other symptoms emerge, return or become more severe.

Dwyer notes that the appearance of new lesions after the first clinical onset can be highly variable in timing, sometimes taking years to emerge. Although this waiting period, required by the older diagnostic criteria, helped ensure a more accurate diagnosis, it also delayed the initiation of treatment — an approach that can seriously and unnecessarily compromise a patient’s clinical status and quality of life.

The new diagnostic criteria are designed to change that with the inclusion of additional diagnostic markers that allow confirmation of MS in a single visit. Two can be identified by MRI: the central vein sign, where a blood vessel is seen running directly through the center of an MS lesion in the brain, and paramagnetic rim lesions or PRLs.

Over the past few years, the UB team has published eight scientific studies on PRLs. These include investigations into their association with central nervous system barriers; their impact on surrounding tissue pathways; their prognostic value for relapses, disability worsening and cognitive difficulties; their association with iron deposition and the predictors that drive them.

An indicator of brain inflammation
 

Last year, the UB researchers published the first longitudinal studies of MS patients done over five- and 10-year periods, linking these PRLs to MS. They were able to do it with the advent of new, iron-sensitive neuroimaging techniques. The UB researchers found that PRLs may be a better indicator of brain inflammation in MS than the white matter lesions that had traditionally been seen as the primary indicator of disease progression.

“Paramagnetic rim lesions are highly specific to MS and represent ongoing damage in the brain,” says Dwyer. “While not everyone who has MS will have them, these lesions are extremely rare in other diseases — so if we see them in someone, we can be much more confident that that person has MS.”

Dwyer notes there have been significant changes over the past 5-10 years in terms of understanding how MS develops in the brain. The understanding used to be that T cells and B cells — immune cells — get into the brain, driving inflammation and brain damage.

“What we understand now, in part from studying paramagnetic rim lesions, is that this isn’t just the external immune system attacking the brain — there are bad actors in the brain itself called microglia,” explains Dwyer. “These cells are part of the natural immune surveillance system in the brain,” he adds. “They’re the brain’s macrophages. They normally clear debris and help police the brain, but somehow in MS many of them become dysregulated, potentially driving continued damage in rims around lesions even when we use immune-modulating drugs to convince the peripheral immune system to stand down.”

He explains that clinicians who see these MRI markers will be better able to diagnose MS and to more quickly start patients on critical treatments.

This story was originally published by the University at Buffalo on December 11, 2025.